KINGSTON TECHNOLOGY CORPORATION
DK100-S2
|
Device Type |
Internal Tape Drive |
|
Interface |
SCSI |
|
Format |
DAT, DDS |
|
Sustained Transfer Rate |
183 KBPS |
|
Size |
3.5 in. Half-height |
|
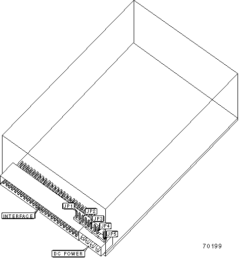
View |
Top |

|
USER CONFIGURABLE SETTINGS |
|||
|
Setting |
Label |
Position |
|
|
» |
Termination enabled |
JP1 |
Closed |
|
|
Termination disabled |
JP1 |
Open |
|
» |
Factory configured - do not alter |
JP5 |
Unidentified |
|
DRIVE SELECT ID |
||||
|
Drive ID |
JP2 |
JP3 |
JP4 |
|
|
» |
0 |
Open |
Open |
Open |
|
|
1 |
Open |
Open |
Closed |
|
|
2 |
Open |
Closed |
Open |
|
|
3 |
Open |
Closed |
Closed |
|
|
4 |
Closed |
Open |
Open |
|
|
5 |
Closed |
Open |
Closed |
|
|
6 |
Closed |
Closed |
Open |
|
|
7 |
Closed |
Closed |
Closed |
|
MANUFACTURERS RECOMMENDED MEDIA |
|
|
Tape |
Capacity |
|
90-meter DDS |
2GB |